|
US Patent Application for: Ricardo Alonso, 111 S. Perry St., Denver, CO 80219 USA Pat. Pend. No.: US 10/797396 Filed Date: 09-MAR-04 MAGNETISM TO CONTROL COMPRESSIVE FRICTION CHECKS FOR RODS INCLUDING THOSE OF DOOR CLOSERS
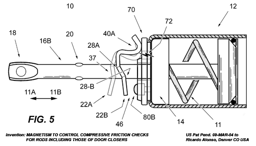
ABSTRACT OF THE DISCLOSURE A magnet (72) for triggering a compressive friction check (22) to disengage (22A) and engage (22B) certain rods (16), such as those for door closers (10) which are utilized for controlling linear biasing forces (11A) and (11B) for objects such as doors (62). Such devices (10) normally provide a rod (16) from within a body (12), disposing a biasing means (11) compliant to the object (62). The check tab (22) normally comprises an aperture (26) opposing compressive friction points (28) for applying to the tensile rod (16), which are contained within a structure (34) attached to a trigger (38) for levering the check (22) onto the extended rod (16B). The magnet (72) optionally cause the check (22) to operate the basic, immediate, progressive, and limited tab set options, thus creating a true feather touch check (22) for door closers (10). Furthermore, the magnet (72) creates an operator (10) for residential doors (62) that may utilize a low-voltage rechargeable battery (86), and lends to numerous other devices (10) including a sliding door operator (10). |